PHAO ĐIỆN THẢ XUỐNG BỂ NƯỚC CHỐNG CẠN, CHỐNG TRÀN, CHỐNG CHÁY MÁY BƠM
Tuyển đại lý phân phối phao điện kín nước chống cạn và chống tràn chính hãng: 0961 288 501
Mua phao điện chống cạn, chống tràn bể nước, chống cháy máy bơm
Tuyển đại lý phân phối Thiết bị điện Siron trên toàn quốc.
Download Hướng dẫn sử dụng phao điện Siron SR-FSW
Dowload Kết quả kiểm nghiệm tại Quatest1
Để kiểm soát được lượng nước trong bồn chứa của nhà bạn thật khó khăn. Khi chúng ta luôn phải trực để tắt hoặc bật máy bơm nước. Mà đôi khi quyên nên không có kịp nước để sử dụng, hoặc nước được bơm tràn ra ngoài, vừa lãng phí nước vừa ướt đồ đạc, ...

Phao điện điều khiển tự động máy bơm nước M15-3-KWS-5M
Nhà bạn đã lắp hệ thống tự động bơm nước sinh hoạt, tuy nhiên hệ thống đôi khi hoạt động vào ban đêm. Tiếng máy bơm làm ảnh hưởng giấc ngủ của cả nhà, mà đôi khi làm cho hàng xóm khó chịu vì tiếng máy bơm nhà bạn.
Máy bơm nhà bạn có công suất lớn, phao bình thường không thể chịu tải được hoặc thường xuyên cháy, hỏng, ...
Trên thị trường có bán các loại phao lắp tại máy bơm, phao đơn giản khác, ... Những loại này sẽ liên tục bơm khi hết nước, chỉ cần sút đi 1 chút là đã cho khởi động máy bơm, ... làm cho dòng điện sử dụng để khởi động máy lớn, gây tốn điện và ảnh hưởng tới tuổi thọ của máy bơm.
Ứng dụng Công tắc phao KWS-3M trong hệ thống bơm hút cạn cho bể nước
(Khi bể đầy nước phao sẽ đóng điện cho bơm hoạt động, khi bể hết nước phao sẽ ngắt điện để tắt bơm)
Ứng dụng Công tắc phao KWS-3M trong hệ thống bơm đầy cho bể nước
(Khi bể cạn nước phao sẽ đóng điện cho bơm hoạt động, khi bể đầy nước phao sẽ ngắt điện để tắt bơm)
HƯỚNG DẪN THUẬT TOÁN SỬ DỤNG CHO HỆ THỐNG MÁY BƠM TỰ ĐỘNG
PHẦN 1: NGUYÊN LÝ LẮP ĐẶT PHAO CHO BỂ NGẦM VÀ BỂ TRÊN CAO
1) Lắp cho bể ngầm (Bể chứa nước phía dưới, nước chảy từ hệ thống nước máy của nhà máy nước vào bể này nhằm tích nước để bơm lên bể trên: Kiểu lắp chống cạn):
Lý do sử dụng:
Khi lắp hệ thống bơm nước tự động thì không thể bỏ qua khâu này vì đôi khi nước nhà máy không cấp nhiều ngày liên tục làm bể ngầm không còn nước. Nếu không có phao đo mực nước thì máy bơm sẽ hoạt động khi bể chứa trên cao cạn nước, chạy không tải làm sinh ra nhiệt độ cao dẫn đến cháy máy bơm hoặc chảy những bộ phận nhựa gắn với máy bơm.
Bạn có thể mua chiếc Phao điện này để sử dụng cho các mục đích như: Bơm cho bể chứa nước sạch, bơm cho bể chứa nước thải, bơm cho hệ thống thoát nước vùng trũng hoặc hay ngập úng, bơm cho bể chứa hóa chất, ...
Nguyên lý hoạt động:
- Khi nước được chứa đầy hoặc tới mức mà bạn đã giới hạn, phao được dựng đứng lên (Hướng 12 giờ), bi trong phao sẽ di chuyển đến tiếp điểm báo đầy, công tắc nằm trong phao được bật, làm cho 2 tiếp điểm được nối với nhau (Nghĩa là: dây đen và dây nâu sẽ thông nhau), mạch điện sẽ thông nhau (Đấu theo cách đấu chống cạn) cho phép bơm hoạt động.
- Khi máy bơm hoạt động, nước sẽ được hút từ từ lên bể chứa trên cao, phao sẽ hạ dần xuống và viên bi trong phao sẽ rời khỏi tiếp điểm đã đóng làm 2 tiếp điểm bị đứt quãng. Máy bơm sẽ không hoạt động cho tới khi nước trong bể chứa tích trữ đủ đầy.
- Bạn có thể lắp 1 cực Lửa hoặc Nguội vào phao rồi đấu trực tiếp với máy bơm (Khuyến nghị: Nên tắt pha nguôi để an toàn hơn khi sử dụng nước). Nếu máy bơm có công suất cao bạn nên lắp qua công tắc tơ. (Khuyến nghị: Nên lắp thêm công tắc tơ (Contactor) hay còn gọi là khởi từ và lắp pha nguội vào phao điện).
Nếu bạn mong muốn nó an toàn tuyệt đối có thể làm theo cách sau đây:
Bạn cũng có thêt đấu theo cách bán tự động sau:
Nguyên lý hoạt động: Có 2 trạng thái sử dụng:
- Trạng thái 1: Khi nước đã được bơm cạn, máy bơm sẽ không hoạt động nữa, nếu muốn nó hoạt động khi bể nước đã đầy thì phải nhấn vào nút nhấn thì nó mới cho phép bơm hoạt động
- Trạng thái 2: Là bơm sẽ tự ngắt khi đã bơm cạn nước và tự cho phép máy bơm hoạt động lại khi nước đã đầy.
2) Lắp cho bể chứa trên cao (Bể chứa nước phía trên cao để khi sử dụng sẽ tự chảy xuống các tầng: Kiểu lắp chống tràn):
Khi nước cạn hoặc tới điểm mà giới hạn bạn đã lắp đặt thì phao nước sẽ thõng xuống dưới (Hướng 6 giờ), bi sắt trong phao điện kín nước sẽ di chuyển về phía công tắc có tiếp điểm báo cạn. (Nghĩa là dây đen và dây xanh sẽ thông nhau), máy bơm sẽ được phép hoạt động.
Khi nước cạn đến mức đã định bởi quả cân - dây phao thì bơm sẽ hoạt động.
Khi nước đầy theo mức đã định bởi quả cân - dây phao thì bơm sẽ ngưng hoạt động.
PHẦN 2: LẮP ĐẶT CHỈ CHO PHÉP MÁY BƠM HOẠT ĐỘNG VÀO BAN NGÀY
Nếu máy bơm hoạt động vào ban đem sẽ làm ảnh hưởng tới giấc ngủ của mình, vì vậy chúng tôi chia sẻ với các bạn cách lắp đặt sao cho máy bơm chỉ hoạt động vào ban ngày.
Nhà máy nước cấp nước trong khung giờ nhất định, trong một ngày không phải lúc nào nước của nhà máy cũng có, do đó người dân chỉ có thể được cấp nước trong một khoảng thời gian nào đó trong ngày. Không phải ai cũng có thể canh tới thời gian đó để bật và tắt máy bơm được.
Do nước nguồn cấp từ nhà máy nước yếu, người dân ở xa phải sử dụng bơm để hút từ ống nước vào bể chứa vào 1 khoảng thời gian nhất định nào đó trong ngày. Có hôm bật được máy bơm và tắt khi đầy bể, nhưng có những hôm không bật được máy bơm nên không có nước, có hôm thì bật mà quên tắt, ...
Do vậy, chúng tôi đã thiết kế ra một bộ kết hợp chức năng hẹn giờ và chức năng báo nước đầy, nước cạn của cả bể dưới và bể chứa trên. Bộ này gồm thiết bị hẹn giờ, phao điện và Contactor cho máy bơm 3 pha, máy bơm công suất lớn. Khắc phục tình trạng phải căn thời gian để bật máy bơm, gây phiền phức và bất tiện.
Nguyên lý hoạt động:
Sử dụng bộ hẹn giờ, đóng mạch vào ban ngày và ngắt mạch vào ban đêm. Bộ hẹn giờ sẽ cho phép máy bơm hoạt động trong khoảng thời gian mình đã cài đặt
Sử dụng Ổ cắm hẹn giờ TGE2B hoặc SG36 để cài đặt hẹn giờ hoạt động.
+) Nếu sơ đồ nối phao trên có sử dụng Contactor thì ta đấu như sau:
![]()
Bộ phao điều khiển máy bơm công suất lớn, máy bơm 3 pha
+) Nếu đấu trực tiếp với phao điện thì đấu như sau:
PHẦN 3: LẮP ĐẶT CÁCH LY, CHỐNG QUÁ TẢI: ĐIỀU KHIỂN PHA MASS; NGUỒN 12V, 24VDC.
Nếu các bạn muốn am tâm hơn, có thể tham khảo những cách đầu sau:
1) Tắt pha Mass: Tắt pha mass, nghĩa là bạn sẽ cấp mass xuống phao điện, để phao cắt dây mass của nguồn cấp. Tuy nhiên nếu luôn để pha lửa ở máy bơm thì cũng nguy hiểm không kém, mà còn làm hỏng máy bơm, ... . Để khắc phục nhược điểm này, ta sử dụng 1 công tắc tơ, hay còn gọi là khởi động từ.
Cách nối: Pha Mass vào phao -> Công tắc tơ. Tại công tắc tơ đã được cấp nguồn Lửa. Khi phao được kích hoạt, cuộn hút trong công tắc tơ được kín mạch, tiếp điểm của công tắc tơ được đóng. Từ tiếp điểm này, ta nối nguồn cấp cho máy bơm vào công tắc tơ rồi nối ra máy bơm.
Lưu ý: Nối tải vào tiếp điểm thường mở của công tắc tơ.
2) Sử dụng nguồn 12V, 24V: Anh Long có hỏi về cách đấu này, tôi xin trình bày như sau:
Ưu điểm: Nguồn 12V, 24V không làm nguy hiểm cho con người, không làm quá tải cho phao, ...
Nhược điểm: Yêu cầu có nguồn 12V, 24V. Cách đấu phức tạp. Nguồn 1 chiều nếu để 24h/24h thường sớm bị cháy, hỏng.
Kết luận: Không khả thi. Tôi khuyên bạn nên sử dụng cách Phần 3.1.
Cách đấu: Cấp cực (+) vào tiếp điểm phao, từ tiếp điểm phao đấu lên Rơ le 12V hoặc 24V. (Vì loại Rơ le này ít có loại chịu được tải của máy bơm nên cần có 1 khâu trung gian nữa là công tắc tơ.) Từ Rơ le, cấp nguồn 220V cho cực nguồn, cực kia đấu vào công tắc tơ, từ công tắc tơ đấu vào máy bơm. (Nếu bạn tìm được loại Rơ le có thể chịu tải trực tiếp được cho máy bơm thì không cần sử dụng công tắc tơ nữa.)
PHẦN 4: LẮP PHAO CHO MÁY BƠM 3 PHA

Phần 5: LẮP CHUÔNG BÁO KHI NƯỚC CẠN HOẶC NƯỚC TRÀN BỂ SỬ DỤNG PHAO KÍN NƯỚC:


|
STT |
Tên gọi phao điện chống cạn và chống tràn |
Mã hiệu |
Giá bán lẻ |
|
1 |
Phao điện kín nước chống ngập và chống cạn dây cáp 2 mét, dạng tròn hoặc vuông, K-M15 2HP. |
M15-3-KWS-2M |
220,000 đ |
|
2 |
Phao điện kín nước chống ngập và chống cạn dây cáp 3 mét, dạng tròn hoặc vuông, K-M15 2HP. |
M15-3-KWS-3M |
270,000 đ |
|
3 |
Phao điện kín nước chống ngập và chống cạn dây cáp 5 mét, dạng tròn hoặc vuông, K-M15 2HP. |
M15-3-KWS-5M |
320,000 đ |
| 4 |
Công tắc phao điện kín nước chống cạn và chống tràn Siron Sr-FSW-T-2M |
SR-FSW-T-2M | 270,000 đ |
| 5 | Công tắc phao điện kín nước chống cạn và chống tràn Siron Sr-FSW-T-3M | SR-FSW-T-3M | 300,000 đ |
| 6 | Công tắc phao điện kín nước chống cạn và chống tràn Siron Sr-FSW-T-5M | SR-FSW-T-5M | 330,000 đ |
KẾT QUẢ THỬ NGHIỆM CÔNG TẮC PHAO ĐIỆN KÍN NƯỚC CHỐNG CẠN VÀ CHỐNG TRÀN SIRON |
|
![]() |
![]() |
HƯỚNG DẪN SỬ DỤNG PHAO KÍN NƯỚC
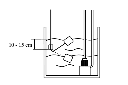
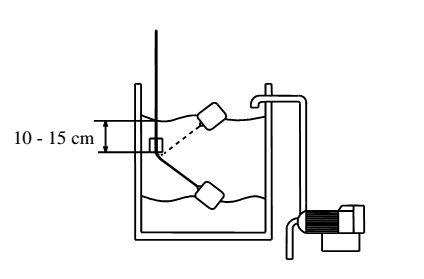
- Cách lắp đặt quả cân: Dùng vật cứng tháo rời vòng cung phía đáy quả cân (hình vẽ 1). Sau đó gắn vòng cung vừa tháo vào sợi cáp tại vị trí thích hợp muốn cân chỉnh mực nước. Sau đó luồn quả cân vào sợi cáp, quả cân được vòng cung này giữ cố định (hình vẽ 2).
- Thả phao vào bể chứa nước (quả cân cách mặt nước khoảng 10 – 15 cm).
- Nếu sử dụng phao điện cho máy bơn 3 pha hoặc máy công suất lớn thì bạn nên sử dụng thêm công tắc tơ (khởi động từ).

Thông số kỹ thuật:
- Công suất chịu tải : 2 HP.
- Điện áp làm việc : 250V ~.
- Nhiệt độ tối đa cho phép : 50 °C.
- Nhiệt độ bảo quản : -10 °C đến +60 °C.
- Cấp độ bảo vệ : IP 68.
Chú ý : Đối với bơm công suất lớn phải sử dụng thêm khởi động từ thích hợp.
Đấu nối phao điện cho ứng dụng chống cạn và chống ngập:
Điều khiển hút cạn:
- Sử dụng dây màu nâu và dây màu đen.
- Khi đầu nước phao sẽ đóng điện cho phép bơm hoạt động.
- Khi hết nước phao sẽ ngắt điện - bơm ngưng hoạt động.


Điều khiển bơm cấp đầy:
- Sử dụng dây đen và xanh.
- Khi hết nước phao sẽ đóng điện cho bơm hoạt động.
- Khi đầy nước phao sẽ ngắt điện – Bơm ngưng hoạt động.










Mai oanh
Nguyễn Xuân Soi
Trình
Nguyen van thạnh
Trần vân
Thien Long
Nguyễn Xuân Soi